L-PB

L Strap Design Series

L shaped strap for connection beams to posts in garden applications such as pergolas and other light constructions.

Käyttöluokka 3
Outdoor
RAL 9005
EPD

Tuotteen yksityiskohdat

Ominaisuudet

Materiaali

  • Teräslaatu:
    Kuumasinkitty teräs S250GD + Z275 EN 10346 mukaan
  • Korroosiosuoja:
    275 g/m² molemmin puolin - vastaa noin 20 μm:n sinkkikerrosta
  • Painted black RAL9005

Benefits

  • Lisää palkin ja pylvään välisten liitosten lujuutta,
  • Tekee pergoloista, markiiseista ja muista kevyistä rakenteista luotettavampia, kun palkin pää on tuettu pylväällä,
  • Helppo asentaa mustilla SSH-PB-ruuveilla,
  • Korkea korroosionkestävyys käyttöluokan 3 olosuhteissa,
  • Musta maalaus: huomaamaton...

Sovellus

Support

  • Palkin pääty: Massiivipuuta, komposiittipuuta, liimapuuta
  • Palkki: Massiivipuu, komposiittipuu, liimapuua

For use with

  • Palkit

Tekniset tiedot

Mitat

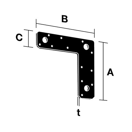
Mitat

Tuotenro Mitat [mm] Reiät Paino [kg]
A B C t Ø5 Ø8,5 Ø10
L150PB150150402103-0.16

Asennus

Asennus

Fasteners

  • Musta ruuvikanta SSH8.0X40PB

Installation

  • Vakiomittaisille puuprofiileille 90x90 mm – 200x200 mm

Sertifiointi

Related Downloads

ZIP-paketit

Buy from Distributor

No items available.

Contact

Simpson Strong-Tie Ruotsi

Simpson Strong-Tie / Gbo Fastening Systems AB

Bruksvägen 2
59375 Gunnebo
Ruotsi