TMC

Metallinen ankkuri kipsilevyyn

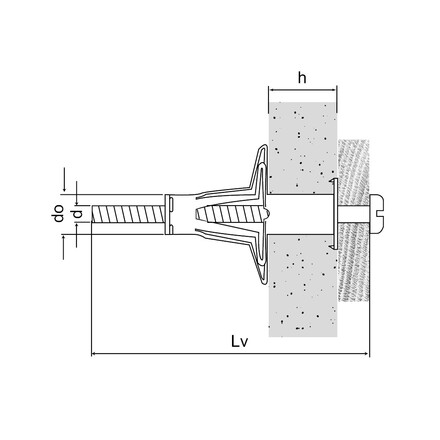
The TMC metallic anchor in the versions Ø8, Ø10 and Ø12 mm is designed for fixings on anchoring bases with cavities.  The anchor is placed in push-through assembly with the TMC setting tool, tightened and braced against the building material. By means of the pre-mounted metric screws, attachments can then be connected and also removed again in a force-locking manner.

Käyttöluokka 2
Sähkösinkitty teräs
Indoor

Tuotteen yksityiskohdat

Kuvat

Ominaisuudet

Material

  • Teräs
  • Valkoinen sinkitty

Benefits

  • Leveä aluslevy peittää mahdolliset reiän epätasaisuudet
  • Asennustyökalu estää pohjamateriaalin liiallisen rasittumisen asennuksen aikana.

Sovellus

Applications

  • Sähkökomponentit
  • Jäähdyttimen kiinnikkeet
  • Putkikiinnikkeet

Suitable for

  • Solumainen savitiili (osittain sopiva)
  • Ontto tiivis kiviaineslohko (osittain sopiva)
  • Ontto kevyt kiviaineslohko (osittain sopiva)
  • Kipsilevy
  • Paneelit ja levyt

Tekniset tiedot

Mitat

Product Dimensions

Tuotenro Tuotenumero Ruuvin mitat [d x Lv] [mm] Reiän halkaisija [do] [mm] Pistokkeen pituus [Ø x L] Min. seinämän paksuus [hmin] [mm] Suurin seinämän paksuus [hmax] [mm] Qty per box Määrä per ulkolaatikko Paino [kg]
7500100505800TMCM5x601010x535185010000.017
7500100605800M6x601212x535185010000.022

TMC-asetustyökalu

Table "TMC-asetustyökalu" cannot be displayed : no references available.

Suositellut kapasiteetit

Tuotenro Tuotenumero Ruuvin mitat [d x Lv] [mm] Suositeltu kapasiteetti Asennustiedot
Jännitys - Nrec Leikkaus - Vrec Reunan etäisyys [ccr,N] [mm] Välit(5) - Scr,N [scr,N] [mm] Suurin vääntömomentti [Nm]
Kipsilevy 12,5 mm Kipsilevy 2 x 12,5 mm Solumuotoinen savitiili Plasterboard 12,5 mm Plasterboard 2 x 12,5 mm Solumainen savitiili 
7500100505800TMCM5x600.12-0.180.2-0.2575751.5
7500100605800TMCM6x600.16-0.20.25-0.385853

*These values are for guidance only 

Tuotteen mitat - Tee-se-itse

Table "Tuotteen mitat - Tee-se-itse" cannot be displayed : no references available.

Asennus

ZIP-paketit

Buy from Distributor

No items available.

Contact

Simpson Strong-Tie Ruotsi

Simpson Strong-Tie / Gbo Fastening Systems AB

Bruksvägen 2
59375 Gunnebo
Ruotsi