Haponkestävä kulmalevy (7015S, 9020S, 10525S)
Ruostumattomia kiinnikkeitä käytetään korroosioaltiissa kohteissa, esimerkiksi kiinnitettäessä painekyllästettyä puuta. Ruostumattomien kiinnikkeiden kestävyyden ominaisarvot ovat samat kuin sinkityillä.
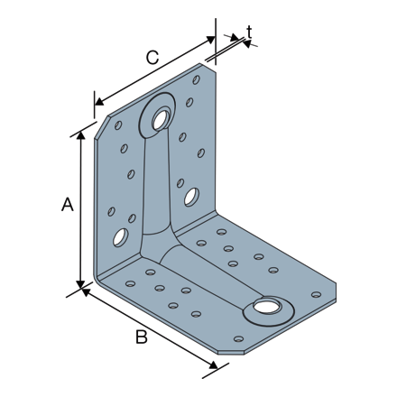
Tuotteen yksityiskohdat
Ominaisuudet
Materiaali
- Teräslaatu:
Ruostumaton teräs 1.4404 (EN 10088) tai vastaava laatu* - Korroosiosuoja:
Ruostumaton, haponkestävä - A4
Ruostumattomasta teräslevystä (ruostumaton, haponkestävä AISI 316(L) / 1.4401(4)) / 1.4521
Hyödyt
- Ruostumaton versio
- Kestävä kulmalevy kantaviin rakenteisiin
Sovellus
Liitos
- Puu-puu liitos
Käyttötarkoitus
- Puu-puu liitos
- Kohteisiin, joissa vaaditaan erityistä korroosionkestävyyttä, esimerkiksi painekyllästetyn puun liittämiseen
Tekniset tiedot
Mitat ja ominaisarvot
| Tuotenro | DB nr. | NOBB nr. | Mitat [mm] | Reiät, sivu A | Reiät, sivu B | Box Quantity | Paino [kg] | |||||||||
|---|---|---|---|---|---|---|---|---|---|---|---|---|---|---|---|---|
| A | B | C | t | Ø5 | Ø7 | Ø11 | Ø14 | Ø5 | Ø9 | Ø13 | Ø14 | |||||
| ABR7015S | 1901749 | 51738657 | 70 | 70 | 55 | 1.5 | 8 | 1 | - | - | 8 | 1 | - | - | 25 | 0.081 |
| ABR9020S | 1901752 | 51738680 | 88 | 88 | 65 | 2 | 10 | - | 1 | - | 10 | - | 1 | - | 25 | 0.17 |
| ABR10525S | 1901755 | 51738714 | 105 | 105 | 90 | 2.5 | 10 | - | 2 | 1 | 14 | - | - | 1 | 25 | 0.34 |
Yhdistetty kuormitus:
Kestävyyden ominaisarvot - Palkki-palkkiliitos - Täysi kiinnitys
| Tuotenro | Kestävyyden ominaisarvot - Puu-puu liitos - Täysi kiinnitys | ||||||||||||
|---|---|---|---|---|---|---|---|---|---|---|---|---|---|
| Liitoskiinnikkeet | Kestävyyden ominaisarvot - 2 kulmalevyä liitosta kohden - Täysi kiinnitys [kN] | ||||||||||||
| Sivu A | Sivu B | R1,k | R2,k = R3,k | R4,k = R5,k | |||||||||
| Määrä | Määrä | CNA4.0x35S | CNA4.0x40S | CNA4.0x50S | CNA4.0x60S | CNA4.0x35S | CNA4.0x40S | CNA4.0x50S | CNA4.0x60S | CNA4.0x35S | CNA4.0x40S | CNA4.0x60S | |
| ABR7015S | 6 | 8 | 5.2 | 6.1 | - | - | 6.7 | 7.3 | - | - | 4.2 /kmod^0,3 | 4.8 /kmod^0,3 | - |
| ABR9020S | 8 | 10 | 9.7 | 10.8 | 12.9 | 14.9 | 9.4 | 10.3 | 11.7 | 13 | 4.6 /kmod^0,7 | 4.9 /kmod^0,7 | 5.8 /kmod^0,6 |
| ABR10525S | 10 | 14 | 12.7 | 17.2 | 23.3 | 29.5 | 10.7 | 12.2 | 15.9 | 19.7 | 10.6/kmod^0,2 | 11.5 /kmod^0,4 | 13.1 /kmod^0,8 |
* CNA4.0x40
R4/5 on määritetty palkin leveydelle b = 75 mm ja epäkeskisyydelle e = 130 mm
Kestävyyden ominaisarvot - Palkki-palkkiliitos - Osittainen kiinnitys
| Tuotenro | Kestävyyden ominaisarvot - Puu-puu liitos - Osittainen kiinnitys | ||||||||||
|---|---|---|---|---|---|---|---|---|---|---|---|
| Liitoskiinnikkeet | Kestävyyden ominaisarvot - 2 kulmalevyä liitosta kohden - Osittainen kiinnitys [kN] | ||||||||||
| Sivu A | Sivu B | R1,k | R2,k = R3,k | R4,k = R5,k | |||||||
| Määrä | Määrä | CNA4.0x35S | CNA4.0x40S | CNA4.0x60S | CNA4.0x35S | CNA4.0x40S | CNA4.0x60S | CNA4.0x35S | CNA4.0x40S | CNA4.0x60S | |
| ABR9020S | 4 | 6 | 4.9 | 5.9 | 9.8 | 5.9 | 6.4 | 8.1 | 4.6 /kmod^0,6 | 4.8 /kmod^0,7 | 5.8/kmod^0.6 |
| ABR10525S | 6 | 6 | 4.8 | 5.7 | 9.5 | 9.7 | 10.6 | 14.3 | Refer to ETA-06/0106 | Refer to ETA-06/0106 | Refer to ETA-06/0106 |
R4/5 on määritetty palkin leveydelle b = 75 mm ja epäkeskisyydelle e = 130 mm
-
| Tuotenro | - | ||||||||||
|---|---|---|---|---|---|---|---|---|---|---|---|
| Liitoskiinnikkeet | - [kN] | ||||||||||
| Sivu A | Sivu B | R1,k | R2,k = R3,k | R4,k = R5,k | |||||||
| Määrä | Määrä | CNA4.0x35S | CNA4.0x50S | CNA4.0x60S | CNA4.0x35S | CNA4.0x50S | CNA4.0x60S | CNA4.0x35S | CNA4.0x50S | CNA4.0x60S | |
| ABR7015S | 6 | 8 | 5.2 | - | - | 6.7 | - | - | 4.3 | - | 5 |
| ABR9020S | 8 | 10 | 9.7 | 11.9 | 14.9 | 9.4 | 12.2 | 13 | 4.9 | - | 6.2 |
| ABR10525S | 10 | 14 | 12.7 | 23.6 | 29.5 | 10.7 | 18.5 | 19.7 | 10.8 | - | 14.3 |
To obtain the resistance values for a single bracket, the values in the above table should be divided by two, provided that the supported beam is locked in rotation. Please consult our ETA-06/0106 if the beam is free to rotate.
-
| Tuotenro | - | |||||||
|---|---|---|---|---|---|---|---|---|
| Liitoskiinnikkeet | - [kN] | |||||||
| Sivu A | Sivu B | R1,k | R2,k = R3,k | R4,k = R5,k | ||||
| Määrä | Määrä | CNA4.0x35S | CNA4.0x60S | CNA4.0x35S | CNA4.0x60S | CNA4.0x35S | CNA4.0x60S | |
| ABR9020S | 4 | 6 | 4.9 | 9.8 | 5.9 | 6.4 | 4.9 | 6.2 |
| ABR10525S | 6 | 6 | 4.8 | 9.5 | 9.7 | 10.6 | - | - |
To obtain the resistance values for a single bracket, the values in the above table should be divided by two, provided that the supported beam is locked in rotation. Please consult our ETA-06/0106 if the beam is free to rotate.
Asennus
Asennus
Kiinnittäminen
- Ruostumattomien kiinnikkeiden kiinnittämiseen käytetään ruostumattomia CNA4,0xℓ-naulauslevynauloja tai ruostumattomia CSA5,0xℓ-naulauslevyruuveja (huom. kestävyyden ominaisarvot alentuvat käytettäessä ruostumatonta CSA-naulauslevyruuvia)
Tekninen tieto
Kaksi kulmalevyä liitosta kohden
Kulmalevyt on asennettava symmetrisesti.
- F1 Ylempää palkkia keskeltä nostava voima.
- F2 ja F3 Poikittainen voima, joka vaikuttaa ylemmän palkin suuntaisesti.
- F4 ja F5 Poikittainen voima, joka vaikuttaa kuvan mukaisesti korkeudella e.
Yksi kulmalevy liitosta kohden
- F1 Nostava voima kulmalevyn keskiakselin linjassa etäisyydellä f kulmalevyn pystysuuntaisesta sivusta.
- Jos palkin kiepahdus on estetty, kestävyys on puolet kahdella kulmalevyllä varustetusta liitoksesta.
- F2 ja F3 Poikittainen voima, joka vaikuttaa ylemmän palkin suuntaisesti.
- F4 Alemman palkin suuntainen voima, joka vaikuttaa kulmalevyn keskilinjassa korkeudella e.
- F5 Alemman palkin suuntainen voima, joka vaikuttaa kulmalevyn keskilinjassa korkeudella e.