SPR

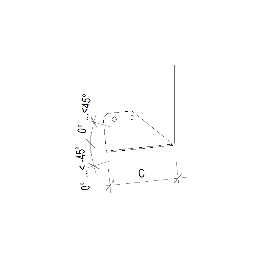
Palkkikenkä 45° asteen kulmassa

Tällä säädettävällä palkkikengällä voidaan kiinnittää palkkeja puuhun tai betoniin. Kulma voi olla enintään 45° alas- tai ylöspäin. Huomautus: kiinnike on säädettävä yhdellä kertaan oikeaan kulmaan.

CE-merkitty
Tekninen hyväksyntä
Käyttöluokka 2
Electrogalvanized steel 20 µm
EPD

Tuotteen yksityiskohdat

Ominaisuudet

Materiaali

  • Teräslaatu:
    Kuumasinkitty teräs S250GD + Z275 EN 10346 mukaan

Hyödyt

  • voidaan asentaa 0–45 asteen kulmaan
  • lankkuihin
  • voidaan asentaa nauloilla/pulteilla
  • muita kokoja saatavana tilauksesta
  • voidaan säätää katon kaltevuuden mukaan
  • voidaan asentaa puuhun ja betoniin

Sovellus

Liitos

  • Käytetään eri tasoissa olevien puupalkkien kiinnittämiseen toisiinsa

Käyttötarkoitus

  • Lankkuihin

Tekniset tiedot

Mitat

Mitat ja ominaisarvot

Tuotenro Mitat, SB [mm] Mitat ja ominaisarvot [mm] Reiät HB Reiät, SB Box Quantity Paino [kg]
Leveys Korkeus A B C D F t Ø5 Ø5
Minimi Maksimi Minimi Maksimi
SPR45/1204345--451207543781.596200.29

Palkkikengän alaosan saa taivuttaa haluttuun kulmaan α vain kerran.
HB = primääripalkki, SB = sekundääripalkki

Kestävyyden ominaisarvot - Palkki-palkkiliitos

Tuotenro Liitoskiinnikkeet Kestävyyden ominaisarvot [kN]
Primääripalkki SB R1,k R2.k
Määrä Määrä CNA 4,0x40 CNA 4,0x40
SPR45/120965.43.3

   

Asennus

Asennus

Kiinnittäminen

  • Pääpalkki: Puu: CNA-ankkurinaula 4,0x40 mm
  • Sekundääripalkki: CNA-ankkurinaula 4,0x40 mm

Kiinnittäminen

  • Kuumasinkityt
  • Lujuusluokka 5.8

 

Sertifiointi

Suorituskykyvakuutus (DoP)

Euroopan tekninen arviointi (ETA)

Buy from Distributor

No items available.

Contact

Simpson Strong-Tie Ruotsi

Simpson Strong-Tie / Gbo Fastening Systems AB

Bruksvägen 2
59375 Gunnebo
Ruotsi