ABR
Kulmalevy reunavahvistuksella (9015 100)
ABR-kulmalevyjä käytetään kantavien puurakenteiden liitoksissa.
Näissä kiinnikkeissä on vahvat keski- tai reunavahvistukset.
CE-merkitty
Tekninen hyväksyntä
Käyttöluokka 2
Indoor
Electrogalvanized steel Z275
EPD
Tuotteen yksityiskohdat
Ominaisuudet
Materiaali
- Teräslaatu:
Kuumasinkitty teräs S250GD + Z275 EN 10346 mukaan - Korroosiosuoja:
275 g/m² molemmin puolin - vastaa noin 20 μm:n sinkkikerrosta
Hyödyt
- Kulmalevy reunavahvistuksilla, kestävä ja materiaalitehokas
- Pienempi materiaalin kulutus, joten ympäristöystävällisempi
- Optimaalinen materiaalin käyttö
Sovellus
Liitos
- Puu puuhun
- Puu betoniin
Käyttötarkoitus
- Palkki palkkiin
- Palkki (puu betoniin)
Tekniset tiedot
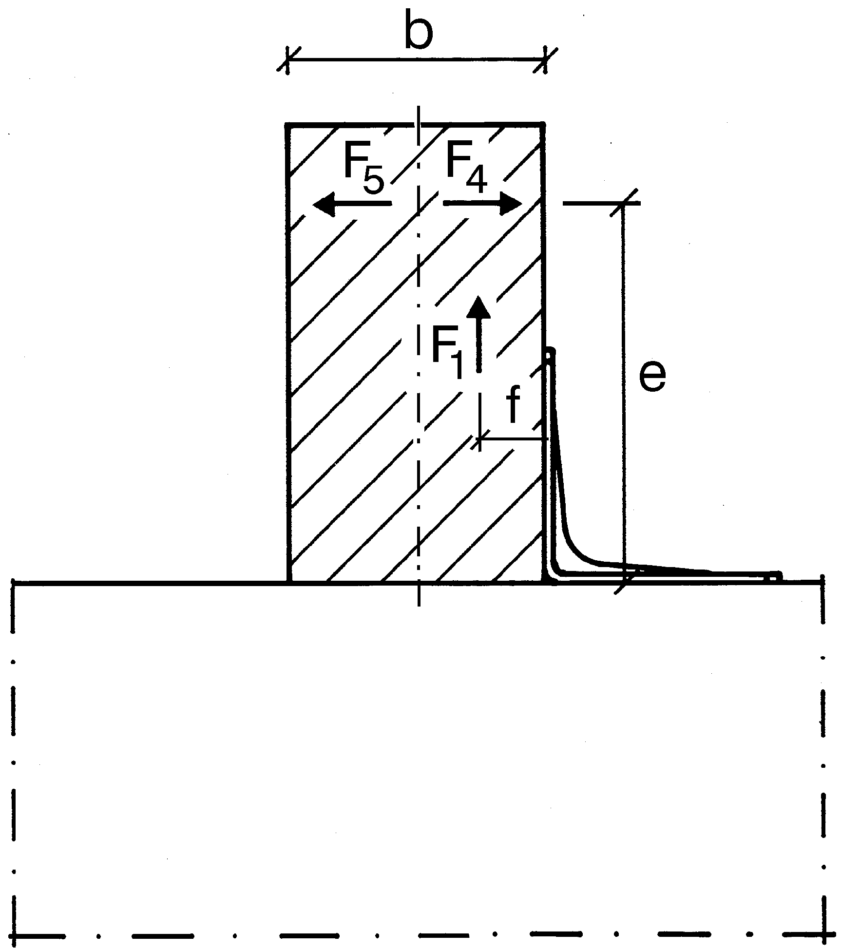
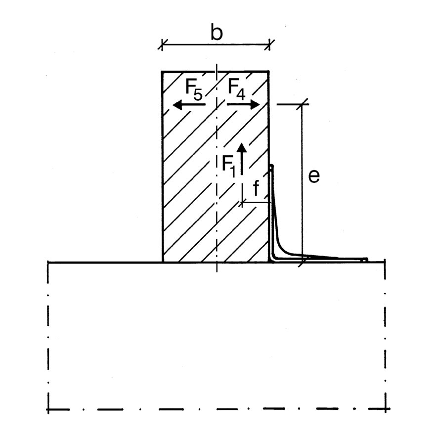
Kestävyyden ominaisarvot - Puu-puu liitos - 2 kulmalevyä liitosta kohden
| Tuotenro | Kestävyyden ominaisarvot - Puu-puu liitos - Täysi kiinnitys | |||||||||||||
|---|---|---|---|---|---|---|---|---|---|---|---|---|---|---|
| Liitoskiinnikkeet | Kestävyyden ominaisarvot - 2 kulmalevyä liitosta kohden [kN] | |||||||||||||
| Sivu A | Sivu B | R1.k | R2.k = R3.k | R4.k = R5.k(1) | ||||||||||
| Määrä | Määrä | CNA4.0x35 | CNA4.0x40 | CNA4.0x60 | CSA5.0x40 | CNA4.0x35 | CNA4.0x40 | CNA4.0x60 | CSA5.0x40 | CNA4.0x35 | CNA4.0x40 | CNA4.0x60 | CSA5.0x40 | |
| ABR9015 | 8 | 10 | 3.45 | 4.1 | 6.6 | 13.2 | 6.3 | 7.1 | 9.6 | 10.5 | - | - | - | 5 /kmod^0,4 |
| ABR100 | 10 | 14 | 9.7 | 11.7 | 19.7 | min (26,7/kmod^0,2 ; 27 /kmod) | 9.6 | 12.8 | 16.7 | 20.3 | 2.4 | 4.2 | 5.1 | 5.1 |
* Palkin leveys b = 75 mm ja epäkeskisyys e = 130 mm
Kestävyyden ominaisarvot - Palkki betoniin liitos - 2 kulmalevyä liitosta kohden
| Tuotenro | Kestävyyden ominaisarvot - Puu-betoni liitos | |||||||||||
|---|---|---|---|---|---|---|---|---|---|---|---|---|
| Liitoskiinnikkeet | Kestävyyden ominaisarvot - 2 kulmalevyä liitosta kohden [kN] | |||||||||||
| Sivu A | Sivu B | R1.k | R2.k = R3.k | R4.k = R5.k | ||||||||
| Määrä | Tyyppi | Määrä | Tyyppi | CNA4.0x35 | CNA4.0x40 | CNA4.0x50 | CNA4.0x35 | CNA4.0x40 | CNA4.0x50 | CNA4.0x35 | CNA4.0x40 | |
| ABR100 | 1 | Ø10 | 10 | CNA* | min (17,1; 21,6 /kmod) | min (20,6; 21,6 /kmod) | min (26,6; 21,6 /kmod) | 7.2 | 8.7 | 10.9 | 8.6 | 10.4 |
* Kiila-ankkurit, esim. WA, BOAX II ja vastaavat, tulee tarkastaa erikseen
Yhdistetty kuormitus:
Asennus
Sertifiointi
Suorituskykyvakuutus (DoP)
uk-dop-e06-0106-11-s-2.pdf
(334.46 KB)
uk-dop-e06-0106-10.pdf
(139.61 KB)
uk-dop-e06-0106-issue-9.pdf
(99.15 KB)
uk-dop-e06-0106-issue-8.pdf
(99.04 KB)
uk-dop-e06-0106-issue-7.pdf
(99.61 KB)
uk-dop-e06-0106-issue-6.pdf
(42.29 KB)
uk-dop-e06-0106-issue-5.pdf
(27.77 KB)
b3e3ef5e5492847232064e535a060b5bad7c05f4.pdf
(34.53 KB)
df170b9bc1e51f91e61521449f22ab2e0dd9d847.pdf
(34.35 KB)
Euroopan tekninen arviointi (ETA)
eta-06-0106-2026-03-09.pdf
(12.89 MB)
eta-06-0106-2021-04-09.pdf
(11.66 MB)
eta-06-0106-2020-01-29-cor1.pdf
(13.43 MB)
eta-06-0106.pdf
(13.43 MB)
eta-060106-sst-ab-r10-2018-issued.pdf
(10.1 MB)
eta-060106-sst-ab-v8-2016.pdf
(9.59 MB)